無損檢測(NDT)之:磁力檢測
關于鋼管,無縫鋼管,焊接鋼管,精密鋼管 等鋼材的無損檢測(NDT),本站之前發表過:渦流探傷原理 鋼材焊縫無損探傷四種方法比較 無損檢測新標準羅列 鍋爐鋼管等壓力容器的無損探傷介紹 無損檢測(NDT)之VT和UT的對比 今天我們再來一起學習學習 鋼材的磁力檢測方面的相關知識。
磁力檢測屬于無損檢測范疇里的表面及近表面檢測技術。表面及近表面檢測方法有磁力檢測、滲透檢測和渦流檢測等方法。本期講述磁力檢測。磁力檢測是通過對鐵磁性材料進行磁化,在缺陷部位所產生的漏磁場來發現表面或近表面缺陷的無損檢測方法。包括磁粉檢測、漏磁檢測(磁敏探頭法)和錄磁檢測等方法。
一、磁力檢測原理與磁化方法
工件在磁場中被磁化后,缺陷部位產生漏磁磁場;在被檢物上撒上磁粉,缺陷部位磁粉附著痕跡與非缺陷部位明顯不同,從而顯示出缺陷。
磁粉檢測只適用于鐵磁材料(鐵、鎳、鈷及其合金等);鐵磁材料上非磁性涂層厚度小于 50μm 時,對磁粉檢測靈敏度影響很小。
缺陷長度方向與磁場方向的垂直度,是磁粉檢測的重要條件。
磁場強度H(A/M)與材料中產生的磁感應強度(磁通密度)B 的關系為:
B=μH
式中
μ——磁導率(H/m)
電流與磁場強度的關系為:
H=0.16I/R , 通電圓柱形導體表面
H=0.16I·r/R2 ,通電圓柱形導體內部
H=0.32πNIcosα/L , 螺管線圈中心
式中
I ——電流(A)
R——導體外表面距導體中心距離(m)
r ——導體內部距導體中心距離
L——線圈長度(m)
α——線圈對角線與軸線之間夾角
被檢物周向與縱向磁化方法列于表1 中。原理如圖 1所示。
▼表1 周向與縱向磁化方法


▲圖1 周向和縱向磁化方法
a)軸向通電法 b)中心導體法 c)電極觸電法
d)線圈法 e)電磁鐵法 f)磁軛法
復合磁化能取得相互垂直的磁場;示例如圖2 所示。它至少需要一個交流磁場

▲圖2 復合磁化法示例
(至少有一個交流磁場)

▲圖3 旋轉(磁場)磁化法
按電源分類有交流電磁化,直流線或整流電磁化。采用交流電可以實現復合磁化和電流法磁化。

▲安裝在生產現場暗室里的熒光磁粉探傷機
二、磁粉檢測過程與技術
在被檢物充磁狀態下敷粉檢測,稱為連續法,
在被檢物充磁后敷粉檢測,稱為剩磁法。
2.1 檢測靈敏度與靈敏度試片
磁粉檢測靈敏度是指可檢出缺陷的最小尺寸,即絕對靈敏度。
磁粉檢測靈敏度取決于磁化方法與規范、磁粉或磁懸浮液的性質、被檢物材料特性及缺陷的位置等。一些磁化方法可達到的靈敏度見表2 。
▼表2 磁粉檢測靈敏度

有關檢測標準都對被檢物檢測靈敏度提出了明確要求,實際檢測中采用靈敏度標準試片或試塊校準,或驗證被檢物檢測靈敏度,靈敏度試片(塊)還用于大致確定磁化電流值,用于考察被檢物各處磁場分布規律等。
A型標準試片為20mmX20mm薄片,上面刻有10mm的圓,圓內刻有十字缺陷槽。A型試片規格與分類見表3 。
▼表3 A型試片規格與分類



▲直流標準環形試塊實物圖片

▲圖5 磁場指示器

▲磁場指示器實物圖片
2.2 檢測方法與磁化方法選擇
連續充磁時間長,磁化效果好。軟磁材料(軟鐵、低碳鋼、鐵鎳合金等)應采用連續法檢測。剩磁大的被檢物,(如高碳鋼、潔凈表面硬化的結構鋼等)可以采用剩磁法檢測。
剩磁法檢測靈敏度比連續法低,只適用于檢測表面缺陷,對近表面缺陷很不敏感。但剩磁檢測法效率高,適用于大批量的小件檢測。
被檢物形狀和預計的缺陷方向與磁場方向(H)垂直時,檢測靈敏度最高。與磁場方向(H)平行時可能檢測不到缺陷。周向磁化法或縱向磁化法的選擇可參照表1。對長度和重量超過探傷機技術指標的被檢物,用分段繞電纜的方法進行縱向檢測。換裝薄型被檢物用感應電流法測其環狀缺陷。
若缺陷方向難以預計則應對被檢物分別進行縱向和橫向磁化,以免漏檢。對于大批量被檢物,生產中采用復合磁化或旋轉磁化,只需一次磁化工序即可實現全方位缺陷檢測。旋轉磁化主要用于焊縫和大型鑄鋼件檢測。
采用交流電磁化,檢測表面缺陷能力強而檢測出近表面缺陷的能力差。交流電用于剩磁法檢測時有剩磁不穩定和偏小的情況,應適當加大磁化電流和采用斷電相位器穩定剩磁,以免漏檢。
直流電磁化可檢出近表面缺陷,直流磁化電流已被單相半波和三相全波整流所替代。單相半波整流磁化具有直流電的滲透性(可檢測較深的近表面缺陷)和交流的脈動性(攪動干磁粉,有利于磁粉流動,從而提高檢測靈敏度的特點)。三相全波整流電具有直流電磁化滲透深與脈動性小的特點,并可提供高強度磁化電流,故適用于大型鍛件、鑄件毛坯以及焊接構件的檢測,有利于發現表層下氣孔與夾雜物等。三相全波整流與直流電類似,具有退磁困難的特點。
2.3 預處理
被測工件磁性檢測前要去除表面的油脂、涂料及鐵銹等贓物,以免影響檢測效果。用于干粉檢測時被測工件表面干燥。
2.4 磁化規范
2.4.1 磁化電流
為保證被檢物表面及近表面缺陷漏磁場聚集磁粉,不論采用何種磁化方式,被檢物磁化后最終都應保證:
連續法,B>0.6~0.8T;
剩磁法,Br>T、Hi >800A/M
按被檢物磁化曲線,選擇相應的 H 值,即可通過公式
H=0.16I/R , 通電圓柱形導體表面
H=0.16I·r/R2 ,通電圓柱形導體內部
H=0.32πNIcosα/L ,螺管線圈中心
對每一種具體被檢物測定磁化曲線,在生產中難以實現,故實際檢測中常用材料一般經驗公式確定磁化電流。
1)軸向通電法的周向磁化
周向磁化是指在工件中建立一個環繞工件的閉合磁場。通電形式如圖6所示。

磁化電流有:
I=(5~10)D 連續法
I=(20~30)D 剩磁法
式中 D 是被檢物的直徑。
中心導體法(芯桿法)被檢物內-芯桿通電,以芯桿直徑估算。
中心導體法(電纜法)周向磁化電流:
I=(8~10)D/N 連續法
I=(20~30)D/N 剩磁法
式中 N 是穿過被檢物內孔的線纜線圈匝數。
2)電極觸點法(支桿法)周向磁化電流:
I=4L
式中 L 是兩支桿間距(mm)
3)線圈法縱向磁化,通電方法見圖7 。

▲圖7 縱向磁化示意圖
a)繞電纜法 b)磁軛法
c)空心零件的磁化
d)長軸零件的磁軛法
連續法檢測,磁動勢(安培 匝數)為:
被檢物為高填充系數;
低填充系數,被檢物偏置于線圈內壁;
式中 L 為被檢物長度,D為被檢物直徑。
以上三式適用于3≤L/D≤15。
2.4.2 磁化通電時間
剩磁法,通電時間一般為0.2~1s,采用沖擊電流時,在1/100s以上反復通電。連續法應在施加磁粉后再切斷電流,一般在磁懸液停止流動后再統計次電,每次0.5~2s 。
2.5 磁粉與磁懸液
2.5.1磁粉種類和特點
磁粉分類見圖8 。

▲圖8 磁粉分類
磁粉檢測按顯示方式分為干法與濕法。干法用干磁粉。濕法則將磁粉按規定濃度懸浮在載液(水或油)中,均勻噴灑在被檢物表面。濕法檢測靈敏度高可實現自動檢測,常用于大批量小件檢測。干法成本低,多用于大型構件或大型局部區域檢測。
干法用磁粉一般是相對密度約為 8 的鐵粉,而濕法用的磁粉是相對密度約為4.5的鐵磁性氧化物。標準干磁粉為粒度5~150μm均勻混合物,磁懸液的磁粉粒度一般為2~5μm。熒光磁粉粒度較大一般為5~25μm,但因其顯示缺陷清晰在此外光下色澤鮮明,多用于配置磁懸液。


▲熒光磁粉缺陷顯示影像實例
2.5.2 磁懸液
磁懸液的種類、特點及技術要求如表4 所示。
▼表4 磁懸液種類、特點及技術要求

2.6 退磁
檢測過程中,若有前次磁化的殘留剩磁可能會影響磁痕痕跡。因此,在兩次連續操作之間應對被檢工件做退磁處理。檢測后不允許有剩磁的被檢物也必須退磁處理。退磁法方法列于表5。
▼表5 退磁方法


▲框式退磁器


▲履帶傳送式退磁機
2.7 磁痕分析
表6 為各種缺陷磁痕一般特征。
表7 所列為偽磁痕(非缺陷磁痕)的鑒別要點。
▼表6 缺陷磁痕的一般特征

▼表7 偽磁痕一般特征

三、磁粉檢測裝備
3.1 磁粉檢測機的分類
磁粉探傷機按磁化裝置不同可以分為以下幾類:
3.1.1 固定式磁粉檢測機
結構特點:尺寸大、重量大,安裝于固定場合。
應用對象:中小型工件,需要較大磁化電流的可移動件。
檢測方法:濕法,交流、直流。


3.1.2 移動式磁粉檢測機
結構特點:置于小車上,便于移動
應用對象:小型工件,不易移動的大型工件。
檢測方法:干法、濕法、交流、直流。

▲移動式磁粉檢測機
3.1.3 便攜式磁粉檢測機
結構特點:體積小,重量輕、易于搬動。
應用對象:適用于高空、野外等現場及鍋爐、壓力容器焊縫的局部檢測。
檢測方法:干法、濕法、交流、直流。

▲便攜式磁粉檢測機
3.2 磁粉檢測設備的組成及作用
磁粉檢測設備的組成及作用詳見表8 。
▼表8 磁粉檢測設備的組成及作用

四、漏磁檢測與錄磁檢測
漏磁檢測、錄磁檢測與磁粉檢測原理相同,均為利用被檢物本身與缺陷的變化來檢測缺陷。磁粉檢測、漏磁檢測及錄磁檢測各自的特點見表9 。
▼表9 三種磁力檢測方法比較

4.1 漏磁檢測
漏磁檢測也就是磁敏探頭法檢測。有縱向缺陷和橫向缺陷兩種檢測方法。
4.11 縱向缺陷檢測方法
圖9 是檢測縱向缺陷的例子。

探頭裝在U形磁軛的兩腳間,被測工件旋轉而檢測系統不動,可檢測管子表面所有缺陷。
為了檢測直縫焊管的縱向缺陷,在固定的磁軛內以垂直于焊縫軸線的方向對焊管進行磁化,并使磁敏探頭以垂直于焊縫軸線方向來回移動。
4.1.2 橫向缺陷檢測方法
如圖10 所示,在自動探測橫向缺陷的設備中,常采用兩只串聯的線圈進行磁化,磁敏探頭放在兩線圈之間。檢測時探頭沿管子軸線方向擺動管子沿螺旋方向行走。

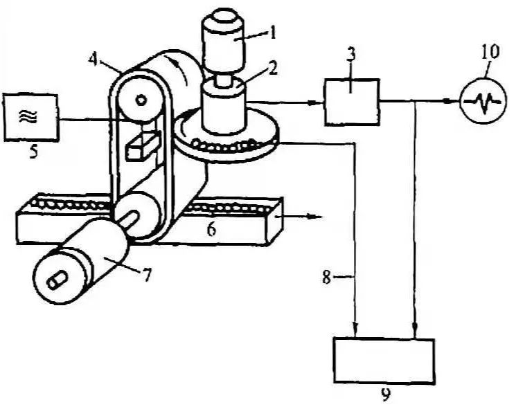
錄磁法檢測分連續式和不連續式兩種。所謂不連續式是先將被檢工件用磁帶圍住后再通電磁化,而后再通過一個查詢裝置,把磁帶上所存的漏磁信息信號查找出來,并用某種記錄手段加以記錄。在如圖10 所示的連續測試中,使用了一種環形磁帶設備。

▲圖10 錄磁法檢測示意圖
1-電動機 2-無接觸變壓器 3-放大器
4-環形磁帶 5-消磁振蕩器 6-被檢工件
7-磁帶啟動電機 8-同步脈沖信號
9-缺陷噴涂單元 10-熒光屏
環形磁帶由一點擊驅動,被檢焊縫在磁帶下面勻速前進。旋轉的探頭以垂直磁帶的方向掃查,探頭的測量信號經過鑒別單元傳向打標記單元,噴槍在工件表面有缺陷的地方噴上標記。與此同時熒光屏上顯示缺陷信號,掃查后的磁帶記錄隨即又被消磁器抹掉,磁帶可重復使用。
被檢測工件可以用交流電也可以用交流電磁化。但應注意:直流磁化時,漏磁場的信息是輸入到一個未經磁化(或原有磁化信息已被抹掉)的磁帶上;而交流磁化時,漏磁場的信息是被輸入到預先已被磁化到飽和程度上的磁帶上。也就是說,前者記錄的是使磁帶磁化的信息,而后者則記錄的是使磁帶退磁的信息。

▲熒光磁粉探傷現場圖


